READ THIS IMPORTANT ANNOUNCEMENT
ABOUT FUTURE OF NO OUTAGE.COM LLC

Page last updated Oct 20, 2021 @ 10:42pm

PTO Generator Instructions

The following text and figures are from the Operating Instructions & Parts Manual for Dayton PTO Generators, 3W954D and 3W955D dated 1999.  Not all parts lists and figures are included in this online version.  For improved quality figures see printed manual.  This manual is subject to change without notice and may not reflect the latest version.

 


Operating Instructions & Parts Manual

3W954D and 3W955D

Please read and save these instructions. Read carefully before attempting to assemble, install, operate or maintain the product described. Protect yourself and others by observing all safety information. Failure to comply with instructions could result in personal injury and/or property damage! Retain instructions for future reference.

Dayton® PTO Generators

Description
The equipment is a revolving field, alternating current generator, designed for the purpose of supplying electrical power for compatible electrical loads. The generator is designed to be driven by the power takeoff mechanism of a suitable tractor, via power takeoff (PTO) drive shaft.

Use the generators to power 120 and/or 240 volts, single phase, 60 Hz, AC electrical loads requiring up to 25,000 watts (25 kW for Model 3W954D) or 40,000 watts (40 kW for Model 3W955D). Refer to Specifications Chart for amperage capacity.

FEATURES
· 1800 RPM
· Quick Disconnect Plugs
· Voltmeter/Frequency Meter Visible to PTO side
· Electric Voltage Regulator
· CSA Certified
· Compact Design

3w954f01.gif (16654 bytes)
Click thumbnail image
above to enlarge

Figure 1 - PTO Generator

Table of Contents
Description/Features Front Cover
General Safety Information 2
Unpacking
   Inspection
2
2 & 4
Specifications
    Generator
3
3
Dimensions 3
Assembly
    Modular Connectors for Full Output
4
4-5
Installation
    Mounting to a Cement Slab
    Trailer Mounted Units
    Generator AC Connection System
    Installing the PTO Shaft
    Gearbox Lubrication
    Optional 50 amp Connector Plug
    Generator AC Neutral Connections
    Grounding the Generator
    Farm Standby Electrical System
5
5
5
5
6
6
6
6-7
7
7-10
Operation
    Before Using Your Generator
    Check Gearbox Oil Level
    Connecting the Power Takeoff Shaft
    Generator Panels
    Starting the Generator
    Stopping the Generator
10
10
10
10
10-11
11-12
12
Maintenance
    Visual Inspection
    Clean the Generator
    Check Gearbox Oil Level
    Change Gearbox Oil
    Lubricate Power Takeoff (PTO) Shaft
    Flashing the Field
    Contouring the Brushes
12
12
12-13
13
13
13
13-14
14
Troubleshooting 15
Electrical Diagrams 16
Replacement Parts 17-23
Warranty back page

General Safety Information
Study these SAFETY RULES carefully before installing, operating or servicing this equipment. Become familiar with Operating Instructions and with the generator. The generator can operate safely, efficiently and reliably only if it is properly installed, operated and maintained. Many accidents are caused by failing to follow simple fundamental rules.

DANGER Indicates an immediately hazardous situation which, if not avoided, will result in death or serious injury. Danger is limited to the most extreme situations.

WARNING Indicates a potentially hazardous situation which, if not avoided, could result in death or serious injury.

CAUTION Indicates a potentially hazardous situation which, if not avoided, may result in minor or moderate injury. Caution may also be used to alert against unsafe practices.

NOTE: Indicates a statement of company policy as the message relates directly or indirectly to the safety of personnel or protection of property.

1. For permanent wiring or wiring into existing electrical service or system, the installation must comply with all national, state and local codes.

2. Never handle any kind of electrical device while standing in water, while barefoot, or while hands or feet are wet. DANGEROUS ELECTRICAL SHOCK WILL RESULT.

3. The alternator produces potentially lethal voltage. Observe all safety precautions. Never permit unqualified people -- especially children to operate the unit.

4. Electrical wiring used with this (and) related equipment must be in good condition, or approved insulative qualities, properly supported, and of the correct wire size to handle the maximum anticipated load current. Inspect extension cords frequently and maintain them in good condition.

5. Exposed pulleys, PTO shafts and Vbelts are dangerous. Provide safety guards around them. Never work on the alternator while it is running.

6. Loose pulleys, PTO shafts and V-belts are extremely dangerous. Keep pulleys tight. Maintain proper tension on V-belts.

7. Never operate the alternator in any enclosed space where cooling air flow might be obstructed. Severe heat damage to the alternator will occur, as well as possible fire and property damage.

8. Excessively high drive speeds are dangerous. Operate only at the minimum drive speed required to provide the proper voltage.

9. Do not work on this generator (or other potentially hazardous equipment) when tired or fatigued.

10. Gasoline engines used to drive the generator give off DEADLY carbon monoxide gas through their exhaust systems. This dangerous gas, if breathed in sufficient concentrations, can cause unconsciousness or even death. Operate prime mover only in open areas where sufficient ventilation is available. NEVER operate the engine inside any room or enclosure where exhaust gases might accumulate and endanger people.

11. Read and make sure you understand all safety precautions and warnings in this manual and on tags and labels affixed to the generator.

12. Keep a fire extinguisher near the generator. Extinguishers rated ABC by the NFPA are appropriate for this use. Keep the extinguisher properly maintained ,and be familiar with its proper use.

13. Dayton cannot anticipate every possible circumstance that might involve a hazard. The warnings in this manual and on the generator are, therefore, not all inclusive. If a procedure, work method, operating method, or technique not specifically recommended by Dayton is used, you must satisfy yourself that it is safe. for you and others and that the generator or property will not be damaged by the procedure or method you choose.

Unpacking
Before first using the unit, completely remove the generator from the shipping carton , and from the shipping pallet or skid to which it might be attached. In addition, completely remove all shipping material from the generator.

INSPECTION
The generator set was inspected and tested before it was shipped from the factory. When unpacking the generator, be sure to inspect it carefully for freight loss or damage. If loss or damage is noted at the time of delivery, require that the person making the delivery note the loss or damage on the freight bill, affix the carrier's signature under the consignor's memo of the loss or damage.

2

Specifications

Generator Model 3W954D 3W955D
Rated Maximum Cont. Wattage
KVA
Power Factor
Rated AC Volts
Rated Maximum Load Current
Phase
Rated Frequency
Power Needed
PTO Drive Speed
Main Breaker Rating
PTO Shaft
Gearbox Reduction
Ratio PTO Shaft to Revolving Field Speed
Recommended Gear Box Oil
PTO Shaft Lubricant
Length
Width
Height
Weight
25,000 watts
25
1
120/240
208/104 amps
1-phase
60 Hz.
45 Hp
540 RPM
125 amps
1-3/8" spline, 6-spline
single stage
1 to 3.33
SAE 90 Gearlube Oil
Lithium base grease
39 inches (990mm)
25.4 inches (644mm)
26.9 inches (683mm)
465 lbs. (211kg)
40,000 watts
40
1
120/240
333/167 amps
1-phase
60 Hz.
72 Hp
540 RPM
175 amps
1-3/8" spline,6-spline
single stage
1 to 3.33
SAE 90 Gearlube Oil
Lithium base grease
39 inches (990mm)
25.4 inches (644mm)
26.9 inches (683mm)
540 lbs. (245kg)

NOTE: Some electric motors require more watts of power (or amperes of current) for starting than for continuous operation. This generator has a momentary "surge" capacity. The unit's "surge" capacity should prove helpful when starting electric motors.

3w954f02.gif (18762 bytes)
Click thumbnail image
above to enlarge

DIMENSIONS - Figure 2

3

Unpacking (Continued)

Contact the carrier for claim procedures. When you have noted loss or damage after the unit is delivered, segregate damaged material and contact the carrier for claim procedures. "Concealed damage" is understood to mean damage to the contents of a package which is not in evidence at the time of delivery by the carrier, but is discovered later. The carrier or carriers are responsible for merchandise lost or damaged in transit. The title goods rests with the consignee when generators are shipped FOB factory, and only the consignee can legally file claims.

DANGER If this unit is used for backup power in the event of a utility power failure, the following step must be taken: before connecting the generator to an electrical system, open the main circuit breaker or main switch serving the system, to isolate the generator system from the electric utility. Failure to isolate the generator and utility systems may result in damage to the generator and may also result in injury or death to electric utility workers, due to a backfeed of electrical energy.

Assembly
MODULAR CONNECTORS FOR FULL OUTPUT

Two 2-pole modular receptacles are provided inside the panel access door. A mating modular connector assembly is shipped with the generator.

DANGER Competent, qualified electricians should connect wiring to modular connectors and to electrical loads. Be sure all connections comply with all applicable codes.

 

WIRING CABLES FOR MODULAR CONNECTORS

Wiring cables for attachment to the modular Connector Assembly are not included with the unit. They must be purchased. Use stranded copper welding cable, rated 600 volts, and with neoprene, thermoplastic rubber, or hypalon insulation to be rated 90C or higher. Recommended wire size is #2 AWG.

 

ASSEMBLING THE MODULAR CONNECTOR ASSEMBLY
Proceed as follows (Figure 3):

1. Retain modular connectors, strain relief clamps, and handle with two 1/4"-20 x 2-1/4" long round head machine screws, lock washers, flat washers and hex nuts.

NOTE: DO NOT install the three contacts at this time.

3w954f03.gif (6645 bytes)
Click thumbnail image
above to enlarge

Figure 3 - Assembling Modular Connections

2. Strip insulation about 3/4 inch (19mm) back from ends of wiring cables.

3. Insert stripped ends of wiring cables into open end of each contact (Figure 4). Use an approved crimping tool to retain wires inside the CONTACTS.

3w954f04.gif (4339 bytes)
Click thumbnail image
above to enlarge

Figure 4 -- Connecting Wiring Cables to Contacts

NOTE: Curved ends of modular connector contacts must face clown in relation to modular connector assembly (handle faces up).

4. Insert the modular connector contacts (with wiring cables securely crimped into place) into the open ends of the modular connector assembly. Only three of the assembly poles are used (Figure 5). Make sure all contacts are securely locked into place inside the modular connectors.

3w954f05.gif (7591 bytes)
Click thumbnail image
above to enlarge

Figure 5 -- Modular Connector Wiring

4

Assembly (Continued)

5. Assemble the cable strain relief. Insert the 10-32 x 2" long round head machine screw (#63 on the control panel exploded view - page 20) into the strain relief bracket as shown. Assemble the cable clamps and spacer as shown in the control panel exploded view. Tighten the hex nut to secure the assembly.

Installation
MOUNTING TO A CEMENT SLAB

For some applications, you can permanently attach the generator to a reinforced cement slab. Figure 6 shows recommended slab dimensions. Pour the reinforced slab onto a sand and gravel base, about 12 inches (30.4cm) below ground level. To determine slab height (Dimension "A") above ground level, take a measurement from ground level to the centerline of the tractor PTO shaft and subtract 17 inches (43.2cm).

EXAMPLE: Measured height from ground level to tractor PTO shaft centerline is 25 inches (63.5cm). Subtract 17 inches (43.2cm). Slab height above the ground should be about 8 inches (20.3cm).

3w954f06.gif (5978 bytes)
Click thumbnail image
above to enlarge

Figure 6 -- Cement Slab Construction

 

3w954f07.gif (10105 bytes)
Click thumbnail image
above to enlarge

Figure 7 -- Mounting Generator to Slab

1. Install four 1/2"-13 x 8" length masonry anchor bolts at the locations shown in Figure 6. Each masonry bolt should extend about 1-3/4" (4.4cm) above the slab.

2. Retain the generator set to the cement slab as shown in Figure 7. You must install thick, rubber pads for the generator mounting base to rest on. The pads, which act as vibration dampeners, should be about 1/2" (1.27cm)thick. Retain the generator with four 1/2" lock washers and 1/2"-13 nuts. Tighten all nuts securely.

TRAILER MOUNTED UNITS

The generator may be mounted to a wide base trailer and pulled behind the tractor, if portability is desired.

CAUTION Use only a wide base trailer that is specifically designed for mounting a pto generator set or the generator may tip during operation.

NOTE: Trailers with two wheels, designed for mounting the generator set, are available from Dayton. Ask your dealer/distributor or consult the factory for details.

GENERATOR AC CONNECTION SYSTEM

The generator employs a stator assembly having a dual set of AC power windings and a 3-wire AC connection system (Figure 8). Each stator AC power winding supplies 120 volts AC. When the two windings are connected in series, a 240 volt AC output result.

3w954f08.gif (3674 bytes)
Click thumbnail image
above to enlarge

Figure 8 -- Generator 3-wire AC Connection System

5

Installation (Continued)
INSTALLING THE PTO SHAFT

The generator gearbox features a standard 1-3/8 inch diameter, 6-spline drive shaft. Supply a suitable power takeoff (PTO) shaft to fit the gearbox shaft and the tractor PTO drive shaft.

NOTE: Dayton can supply a high quality, telescoping power takeoff shaft (Model 2W083). Ask your Dealer/Distributor for details or consult the factory.

1. Connect power takeoff (PTO) shaft guard onto gearbox shaft. Keep generator and tractor shafts parallel as viewed from above and from the sides of the shafts. Maintain PTO shaft joint angles equal and as small as possible (Figure 9).

For Smoothest Operation Keep Tractor Shaft and Gearbox Shaft Parallel (Side and Top Views). Keep Joint Angles Equal & Small as Possible.

3w954f09.gif (3326 bytes)
Click thumbnail image
above to enlarge

Figure 9 -- Checking PTO Shaft Connection

DANGER Never operate the generator until the pro shaft guard has been properly installed. Serious injury can result from operating the generator without the shaft guard in place.

GEARBOX LUBRICATION

Before operating the generator set, check gearbox oil level as outlined in "Maintenance" section on page 13.

CAUTION Operating the generator with low gearbox oil level may cause gearbox failure.

See "MAINTENANCE" section on page 13 for more information on periodic maintenance.

OPTIONAL 50 AMP CONNECTOR PLUG

DANGER Competent, qualified electricians should connect wiring to modular connectors and to electrical loads. Connections must comply with all applicable codes.

1. To use the 240 volts, 50 amp receptacle (NEMA 6-50R) on the generator panel, you need a mating connector plug. This plug should be a 3-prong, grounded type, rated 50 AC amps at 250 volts (Figure 10).

NOTE: You can order a suitable connector plug from Dayton, if desired. Order Model 6C119.

3w954f10.gif (4142 bytes)
Click thumbnail image
above to enlarge

Figure 10 -- Optional 50 Amp Plug and Cord Set

2. A suitable, approved 3-wire cord set, rated 50 AC amperes at 250 volts (or higher) must be purchased and properly connected to the plug. When properly connected, 240 volts AC electrical loads may be operated.

CAUTION This receptacle is 240V ONLY, connecting 120V loads to this receptacle will result in damage to the equipment.

GENERATOR AC NEUTRAL CONNECTIONS

The generator is shipped from the factory with the neutral ungrounded. (Neutral floating, i.e.; no electrical connection between neutral and ground connection).

The required status of the neutral depends on how the PTO generator is to be used. The NEC (National Electrical Code) requires the following.

Emergency Supply for a Fixed Wiring System -This is the case when the PTO is used to provide emergency backup power for a fixed wiring system. This requires the output of the generator to be connected to electrical load though a double-throw transfer switch. The neutral is NOT to be connected to the ground terminal. This is how the PTO generator is supplied from the factory, no changes are required. See figure 11.

3w954f11.gif (11081 bytes)
Click thumbnail image
above to enlarge

Figure 11 -- Bonding Jumper Not Used

6

Installation (Continued)
Separately Derived Source --This is the case when the PTO generator is to supply only loads connected by cords plugged into the outlets or fuel capacity connector. This is the case when the load is not normally supplied by the Utility source or is not part of a fixed wiring system.

The neutral is to be connected to the ground terminal in the control panel.

1. Remove the control panel cover.

2. Locate the #4 AWG wire loop on the ground terminal (Figure 11).

3. Disconnect one end of the wire loop and attach it to the neutral connection terminal (Figure 12).

3w954f12.gif (11068 bytes)
Click thumbnail image
above to enlarge

Figure 12 -- Bonding Jumper in Place

4. Tighten the retaining nuts on both terminals.

5. Replace the control panel cover and secure the fasteners.

GROUNDING THE GENERATOR

The National Electrical Code requires that the frame and external electrically conductive parts of this generator be properly connected to an approved earth ground. Local electrical codes may also require proper grounding of the unit. For that purpose, a GROUNDING LUG (Figure 13) is provided on the unit. Generally, connecting a No. 6 AWG (American Wire Gauge) stranded copper wire to the grounding lug and to an earth driven copper or brass grounding rod (electrode) provides adequate protection against electrical shock. However, local codes may vary widely. Consult with a local electrician for grounding requirements in your area.

3w954f13.gif (8320 bytes)
Click thumbnail image
above to enlarge

Figure 13 -- Location of Grounding Lug

DANGER Do not connect the grounding wire to any pipe that carries flammable or explosive substances fire or an explosion may result.

Proper grounding of the generator will help prevent electrical shock in the event of a ground fault condition in the generator or in connected electrical devices. Proper grounding also helps dissipate static electricity, which often builds up in ungrounded devices.

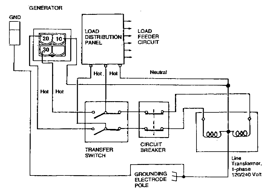
FARM STANDBY ELECTRICAL SYSTEM

The generator set may be used to supply electrical power to critical electrical loads if the normal (utility) power source' has failed. When this is done, a double throw load transfer switch is required (Figure 14).

3w954f14.gif (6076 bytes)
Click thumbnail image
above to enlarge

Figure 14 -- Farm Standby Connection System

TRANSFER SWITCH

The transfer switch must be rated at sufficient amperes to carry the total load when the normal (utility) power source is being used. Install the transfer switch near the main line switch and between the main line switch and the load. When set to generator position, the transfer switch must connect the AC output to the load and disconnect the utility source from the load (Figure 18 on page 10). When set to utility position, the transfer switch must connect the normal (utility) power source to load and disconnect the generator from the load.

7

 

3w954f15.gif (33624 bytes)
Click thumbnail image
above to enlarge

Figure 15 -- Farm Standby Circuit Isolation Methods

*Ampere rating must be equal to or greater than the ampere rating of the emergency distribution panels.
**Ampere capacity not to exceed the generator rating Only these items will be powered by the standby generator. If the electrician sizes the load properly, the generator cannot be overloaded.
All wiring must conform to the United States National Electrical Code (NEC) and all state and local codes. Consult a qualified licensed electrician. The illustration assumes the utility is supplying 120/240 volt single phase electric service.

*Ampere rating must be equal to or greater than the main (normal) utility entrance service.
**With this system take care to prevent overloading the generator.
During utility power failure, turn OFF individually all load items to distribution panel. Only certain items can be turned back on during generator operation. Have the electrician specify these items so as not to overload the generator.
All wiring must conform to the United States National Electrical Code (NEC) and all state and local codes. Consult a qualified licensed electrician. The above illustration assumes the utility is supplying 120/240 volt single phase electric service.

8

 

3w954f16.gif (12477 bytes)
Click thumbnail image
above to enlarge

Figure 16 -- Typical Circuit Before Installing Generator

 

3w954f17.gif (13959 bytes)
Click thumbnail image
above to enlarge

Figure 17 -- Typical Circuit After Installing Generator

9

Installation (Continued)

3w954f18.gif (10451 bytes)
Click thumbnail image
above to enlarge

Figure 18 -- Unit Connected to Transfer Switch

UTILITY POWER RESTORED SIGNAL

A pilot lamp or alarm signal may be installed, if desired, to indicate when normal (utility) power is restored. Connect such an advisory lamp across the normal (utility) power line, just ahead of the transfer switch. When this is done, the lamp will come ON when utility power is restored (Figure 14 on page 7).

Operation
This section outlines basic procedures for operating generator set. Read instructions carefully. Also read all information and instructions in Assembly and Installation sections as well as General Safety Information.

DANGER Comply with all safety rules, also, read all warning and caution decals and tags affixed to the generator. Failure to obey safety rules may result in personal injury or death.

BEFORE USING YOUR GENERATOR

WARNING This generator requires a certain horsepower to drive revolving field when full capacity loads are being powered through unit. This horsepower is applied to generator as torsional or twisting force. Such a high twisting force can tip over generator with considerable force as soon as you apply electrical loads. This could cause personal injury or damage to equipment.

WARNING To prevent the generator from tipping while under load, the unit must be properly bolted to reinforced cement slab or to a wide base trailer that is designed specifically for that purpose. Do not operate this generator until you have properly bolted it to the recommended supporting structure.

1. Use ONLY a 540 rpm power takeoff drive operating speed. Any attempt to operate the generator set with higher power takeoff speeds will result in damage to equipment or personal injury.

2. Make sure the generator has been properly prepared to use.

CHECK GEARBOX OIL LEVEL
Before using the generator, check gearbox oil level. See "Maintenance" section on page 13.

CONNECTING THE POWER TAKEOFF SHAFT

Connect the PTO shaft to the tractor PTO drive system and to the generator's gearbox shaft. The shaft must be fully engaged with both the tractor and the generator shaft. The generator and tractor shafts must be parallel as viewed from the top and sides of the shaft. Maintain PTO shaft joint angles (Figure 19) equal and as small as possible.

For Smoothest Operation Keep Tractor Shaft and Gearbox Shaft Parallel (Side and Top Views), Keep Joint Angles Equal & Small as Possible,

3w954f19.gif (3234 bytes)
Click thumbnail image
above to enlarge

Figure 19 -- Main Contacts Close to "Normal" Source

DANGER Do not operate the generator unless it is securely attached to either a cement slab or to a trailer specifically designed for generator use. An unattached or improperly attached generator may tip over forcibly as soon as electrical loads are applied.

CAUTION Make sure the generator's PTO shaft guard is properly attached to the gearbox before starting.

GENERATOR PANELS

The purpose of this section is to familiarize you with the components mounted on the generator's front and rear panels.

The outlet panel (Figure 20 on page 11) has the following components:

1. 15 Amp Circuit Breakers: Each circuit breaker protects 120 volts AC outlet against overload. Breakers are 'push-to-reset' types.

2. 120 Volts Receptacles: Use these two outlets for operating 120 volts, single phase, 60 Hz AC electrical loads. Each receptacle is rated 125 AC volts at 15 amps. Use a same rated cord set.

3.  50 Amp, 240 Volt Receptacle and Circuit Breaker:

10

 

3w954f20.gif (8632 bytes)
Click thumbnail image
above to enlarge

Figure 20 -- Generator Outlet Panel

a. Use this 3-pin, grounded receptacle to operate 240 volts, single phase, 60 Hz AC electrical lighting, appliance, tool and motor loads requiring up to 50 AC amperes of current or up to 12,000 watts (12 kW) of power (Figure 20).

b. To use this receptacle, you must attach a connector plug rated 250 volts, 50 amps to a same rated 3 wire cord set.

c. The 50-amp circuit breaker protects each hot line of the receptacle.

WARNING Never plug in (or unplug) modular connectors or the 240-volt, 50 amp connector with electrical loads connected and turned on. This can result in dangerous electrical arcing, possible injury and possible damage to equipment.

4. Meters: The AC voltmeter and frequency meter are located on back of the control box (Figure 20). Use the meters as a visual aid to verify that the AC voltage, frequency and operating speed are all correct.

The modular connector panel (Figure 21) is easily visible from the power takeoff (PTO) end of the generator and has these components:

3w954f21.gif (4511 bytes)
Click thumbnail image
above to enlarge

Figure 21 -- Modular Connector Panel

1. Modular Connector Access Door: Full capacity modular connectors (minus wiring cable) are shipped with the generator for connecting to mating connectors inside the access door. You can draw the full capacity of the generator from the modular connectors. Two 2-pole connectors and two 2-pole mating connectors are used.

2. Flash Point: Easy access point for flashing the field.

3. Main Circuit Breaker:

a. This breaker protects generator stator windings against overloads in excess of unit's rated AC capacity. This generator is rated at a maximum continuous load current capacity as shown on page 3.

b. If you connect electrical loads more than the current rating of the main circuit breaker, it will trip. You can manually reset the tripped (open) circuit breaker to its closed position.

4. Fuse (4-amp, type 3AG):

a. Connected in the automatic "field flashing" circuit. The fuse will open the field flashing circuit if there is a failure of one of the components. Check the condition of the fuse if the output voltage will not build.

STARTING THE GENERATOR

Follow these steps to start the generator:

1. On the front panel of the generator, set the main circuit breaker to the OFF or open position. The breaker for the generators in this manual are rated as follows:

a. Model 3W954D 125 AC amperes

b. Model 3W955D: 175 AC amperes

WARNING Never start(or stop) the generator with the main circuit breaker set to ON or CLOSED. Connect electrical loads to generator output only after the panel voltmeter indicates 240 volts and the frequency meter reads 60 Hz. This voltmeter reading means that generator AC output frequency and voltage are correct. Some electrical loads may be damaged by incorrect voltage and/or frequency.

11

 

Operation (Continued)

2. Plug in the desired electrical loads. This may be done by the following ways:

a. Connect cord set to the 120 volts, 15 amp receptacles.

b. Connect cord set to the 240 volts, 50 amp receptacles.

c. Connect cord set to the modular connectors.

WARNING Never plug in (or unplug) modular connectors or the 120/240 volts, 50 amp connector with electrical loads connected and turned on. This can result in dangerous electrical arcing, possible injury and possible damage to equipment.

3. Start the tractor engine and engage the power takeoff (PTO) drive.

4. Slowly increase tractor engine speed while observing the frequency meter on the generator rear panel.

5. Increase the speed of the engine until the frequency meter indicates 60 Hz.

3w954f22.gif (6219 bytes)
Click thumbnail image
above to enlarge

Figure 22 -- Checking Reading of Frequency Meter

6. Set the generator main circuit breaker to the ON or closed position. Now turn ON the electrical load you want to power (cord sets were connected in Step 2). Generator output is now powering electrical loads you connected to the generator.

7. Check frequency meter reading (Figure 22) on generator rear panel. If reading has dropped below 60 Hz, increase tractor engine speed just enough to return the needle to 60 Hz.

STOPPING THE GENERATOR

Follow these steps:

1. Turn OFF electrical loads.

2. Set the generator MAIN CIRCUIT BREAKER to the OFF or OPEN position.

3. Let the generator and tractor engine run for a few minutes at no-load, to cool internal parts.

4. Shut OFF the tractor engine.

5. Remove the power takeoff (PTO) shaft from generator and tractor.

Maintenance
Your generator set will perform reliably only if you properly maintain it. This section outlines the minimum recommended periodic maintenance to keep your unit in good condition and increase its life. If operating your generator under extremely adverse conditions (extreme dust, dirt, cold or heat), increase periodic maintenance frequencies accordingly.

VISUAL INSPECTION

Carefully inspect the generator set before you first use it and at least once each month thereafter. Look for the following discrepancies:

1. Loose or broken wires

2. Defective connections

3. Missing, corroded or damaged fasteners and other hardware

4. General appearance and cleanliness

CLEAN THE GENERATOR

Keep the generator set clean and free of foreign material. Clean generator at least once monthly. A soft brush may be used to loosen caked-on dirt. Use a soft, damp cloth to wipe away loosened dirt. To clean dirt from hidden or remote areas of the unit, use dry, filtered, low pressure air or vacuum system.

CAUTION DO NOT use a forceful spray of water to clean the generator. Water can penetrate generator stator and rotor windings, which could reduce insulation resistance. Possible generator failure may result.

Moisture that is allowed to remain in contact with windings will be retained in voids and cracks of the windings. Dirt makes the problem worse, since it tends to hold the moisture into contact with the windings. Salt, as from sea air, worsens the problem since it tends to absorb moisture from the air. The combination of salt and moisture make a good electrical conductor.

12

 

Maintenance (Continued)

1. Clean the interior of the generator control panel. The voltage regulator and electrical terminals especially must be kept clean. Carbon tracking on insulators may be caused by dirt or loose connections. Clean all carbon paths or else replace the insulators. If you do not correct carbon tracking, the generator eventually develops a shorted electrical circuit.

2. When cleaning, visually check for loose or broken wires and connections. Check voltage regulator wires. Make sure all circuit boards are fully plugged in to their sockets.

CHECK GEARBOX OIL LEVEL

Check gearbox oil level before you first use it. Thereafter, check gearbox oil level every 10 hours of operation or once weekly, whichever comes first. To check oil level, proceed as follows;

1. Make sure the generator is as level as possible.

2. Remove the OIL LEVEL CHECK PLUG from the generator gearbox (Figure 23).

3w954f23.gif (8048 bytes)
Click thumbnail image
above to enlarge

Figure 23 -- Gearbox Oil Servicing Points

3. Check oil level. Oil should be at point of overflowing the OIL LEVEL CHECK PLUG opening. If necessary, add 5AE 90 GEARLUBE oil to the recommended level. See "CHANGE GEARBOX OIL."

4. When oil level is correct, install and tighten the OIL LEVEL CHECK PLUG.

CHANGE GEARBOX OIL

Change gearbox oil after the first 25 hours of operation. Thereafter change gearbox oil every 250 operating hours or every six months, whichever occurs first. To change gearbox oil, proceed as follows:

1. Operate the generator until gearbox oil is thoroughly warmed up (about 30 minutes), then shut down.

2. Immediately after shutting it down, remove gearbox oil drain plug (Figure 23). Drain oil completely into a suitable container. Remove oil fill/breather and oil level check plug to facilitate draining.

3. After all oil has drained, install and tighten oil drain plug.

4. Add SAE 90 gearlube oil through oil fill/breather opening, until oil just starts to overflow from oil level check plug opening. Pour slowly.

5. When oil level is correct, install and tighten oil fill/breather and oil level check plug.

6. Recheck all plugs. Make sure they are tight.

7. Start generator and check for leaks.

LUBRICATE POWER TAKEOFF (PTO) SHAFT

Grease the PTO shaft frequently. Use a low pressure, grease gun filled with general purpose, lithium base grease to apply to grease fittings (Figure 24) at shaft universal joints. Also apply general purpose, lithium base grease to PTO shaft splines and to telescoping sections of shaft.

3w954f24.gif (6403 bytes)
Click thumbnail image
above to enlarge

Figure 24 -- Grease Points to Power Takeoff Shaft

FLASHING THE FIELD

If the output voltage fails to increase as the tractor speed increases, the problem maybe that residual magnetism in the rotor has been lost. This can be due to lack of use of the generator, disassembly, or the fuse in Line 2 is open.

If the 4-amp fuse is open (or "blown"), check the contacts of the control relay (CR) to be sure the contacts (1-7) open when the relay is energized (Figure 25 on page 14).

13

 

Maintenance (Continued)

3w954f25.gif (5404 bytes)
Click thumbnail image
above to enlarge

Figure 25 -- Schematic of Field Flashing System

To restore the residual magnetism, a small current must be passed through the rotor windings. This generates a small voltage which starts the buildup process in the alternator until it reaches the unit's rated voltage.

On the outside of the control panel, there is a field flashing point. This point is located just below the full capacity output connectors (Figure 26).

To flash the field manually, you will need a battery with voltage between 6-24 VDC and connection wires. Follow these steps:

3w954f26.gif (5380 bytes)
Click thumbnail image
above to enlarge

Figure 26 -- Location of Flash Point on Control Panel

1. Start the tractor and engage the PTO shaft. Increase speed to about 75% of rated speed.

2. Connect the negative (-) post of the battery to the generator frame ground.

3. Take a lead from the positive (+) post of the battery and insert it for a moment into the center of the field flashing point. The generator voltage should build up to about 75% of rated voltage.

4. Increase the speed to rated speed by increasing tractor RPM and watching the frequency meter on the panel.

CONTOURING THE BRUSHES

If there is sparking at the brushes, the brushes may need to be contoured using the following procedure:

1. Tape a strip of sand paper (150 grit or finer) onto the slipring assembly. The strip should be slightly wider than the sliprings and long enough to overlap itself.

2. Rotate the rotor shaft by hand in the same directional in which the sand paper is taped. One revolution is adequate in most cases.

3. Remove the sand paper and re-inspect the brushes. Repeat steps 1-2 if necessary.

14

Troubleshooting

Symptom Possible Causes Corrective Action
No output or low output voltage 1. Open or shorted rotor
2. Open or shorted stator
3. Generator operating below correct RPM speed
4. Generator overloaded
5. Short circuit in load
6. Dirty slip rings
7. Brushes binding in holders
8. Loss of residual magnetism
1. Replace rotor
2. Replace stator
3. Operate generator at 1800 RPM for correct output voltage
4. Reduce load to rated output
5. Disconnect load. Check voltage at receptacle. Repair short
6. Clean and polish slip rings
7. Check brushes for swelling. Replace defective brushes. Clean brush holders
8. Check output voltage with sensitive meter. If very low, flash fields with 12 VDC battery
Output voltage is too high 1. AVR setting incorrect 1. Readjust AVR setting
Generator is overheating 1. Generator is overloaded
2. Rotor is rubbing stator
3. Poor ventilation
4. Short circuit in stator
5. Short turns in rotor
1. Reduce load
2. Check bearing condition
3. Ensure alternator air vents are clear
4. Repair or replace stator
5. Replace rotor
Sparking at the brushes 1. Generator is overloaded
2. Brushes not seated properly
3. Brushes sticking in holder
4. Brushes worn down shorter than 3/8-inch
1. Reduce load
2. Contour brushes (see "Maintenance")
3. Remove brushes and inspect and correct problem
4. Replace brush. NOTE: Always replace brushes one full set at a time

15

 

Electrical Diagrams - See printed version of manual

16

 

Replacement Parts List for 25kW - See printed version of manual

17

 

Replacement Parts List for 40kW - See printed version of manual

18

 

Replacement Parts List for Gearbox - See printed version of manual

19

 

Replacement Parts List for 25kW Control Panel - See printed version of manual

20, 21

 

Replacement Parts List for 40kW Control Panel - See printed version of manual

22, 23

 

Limited Warranty

Dayton Five-Year Limited Warranty. PTO Generators, Models 3W954D and 3W955D, are warranted by Dayton to the original user against defects in workmanship or materials under normal use for five years after date of purchase. Any part which is determined to be defective in material or workmanship and returned to an authorized service location, as Dayton designates, shipping costs prepaid, will be, as the exclusive remedy, repaired or replaced at Dayton's option. For limited warranty claim procedures, see PROMPT DISPOSITION below. This limited warranty gives purchasers specific legal rights which vary from jurisdiction to jurisdiction.

Limitation of Liability. To the extent allowable under applicable law, Dayton's liability for consequential and incidental damages is expressly disclaimed. Dayton's liability in all events is limited to and shall not exceed the purchase price paid.

Warranty Disclaimer. Dayton has made a diligent effort to illustrate and describe the products in this literature accurately; however, such illustrations and descriptions are for the sole purpose of identification, and do not express or imply a warranty that the products are merchantible, or fit for a particular purpose, or that the products will necessarily conform to the illustrations or descriptions.

Except as provided below, no warranty or affirmation of fact, expressed or implied, other than as stated in the "LIMITED WARRANTY" above is made or authorized by Dayton.

Product Suitability. May jurisdictions and localities have codes and regulations governing sales, construction, installation, and/or use of products for certain purposes, which may vary from those in neighboring areas. While Dayton Industries attempts to assure that its products comply with such codes, it cannot guarantee compliance, and cannot be responsible for how the product is installed or used. Before purchase and use of a product, please review the product application, and national and local codes and regulations, and be sure that the product, installation, and use will comply with them.

Certain aspects of disclaimers are not applicable to consumer products, e.g., (a) some jurisdictions do not allow the exclusion or limitation of incidental or consequential damages, so the above limitation or exclusion, may not apply to you, (b) also, some jurisdictions do not allow a limitation on how long an implied warranty lasts, consequentially the above limitation may not apply to you, and (c) by law, during the period of this limited warranty, any implied warranty of implied merchantability or fitness for a particular purpose applicable to consumer products purchased by consumers, may not be excluded or otherwise disclaimed.

Prompt Disposition. Dayton will make a good faith effort for prompt correction or other adjustment with respect to any product which proves to be defective within limited warranty. For any product believed to be defective within limited warranty, first write or call dealer from whom the product was purchased. Dealer will give additional directions. If unable to resolve satisfactorily, write to Dayton at address below, giving dealer's name, address, date, and number of dealer's invoice, and describing the nature of the defect. Title and risk of loss pass by buyer on delivery to common carrier. If product was damaged in transit to you, file claim with carrier.

Manufactured for Dayton Electric Mfg. Co.
Niles, Illinois 60714 U.S.A.

C1139
5/8/99 Rev. B

 

Are YOU ready for the next power outage?

 1 Videos
 2 Outage Archives
 3 Utility Industry
 4 Why You Need Backup
 5 Personal Stories
 6 NoOutage Configurations
 7 Safety
 8 Sizing for Your Needs
 9 Voltage Drop Calculator
10 Test Reports
11 Placing Order
12 Equipment Leasing
13 Books & Videos  
14 Financing
15 Frequently Asked
16 Future Technologies
17 Electricity Glossary
18 Help with Plug Types
19 Who We Are
20 Why Buy Here
21 Our Customers
22 Pick a Contractor
23 Privacy Promise
24 Safe Shopping Guarantee
25 Terms & Conditions
26 What's New
27 Contacting Us
28 Parts Lookup
29 Parts & Service
30 Made in USA
31 Links

We welcome your feedback or questions.  Click here to contact us.
See our Terms & Conditions before using information or ordering from this web site.
Copyright © 1999-2025 NoOutage.com LLC. A Virginia LLC. All rights reserved.